Amazon doreşte să facă dronele mai sensibile la oamenii din jurul ei. Cu o nouă invenţie, drona va fi echipată cu tehnologie (senzori, infraroşu şi microfoane sensibile) care îi va permite să răspundă strigătelor şi fluturării mâinii pentru a face livrarea coletelor mai uşoară.
Dacă privim desenul de nota 10 realizat de experţi, observăm că invenţia are potenţialul producerii unor scene de comedie, cu oameni care flutură din mâini la cer, scrie Futurism.

Credit: USPTO
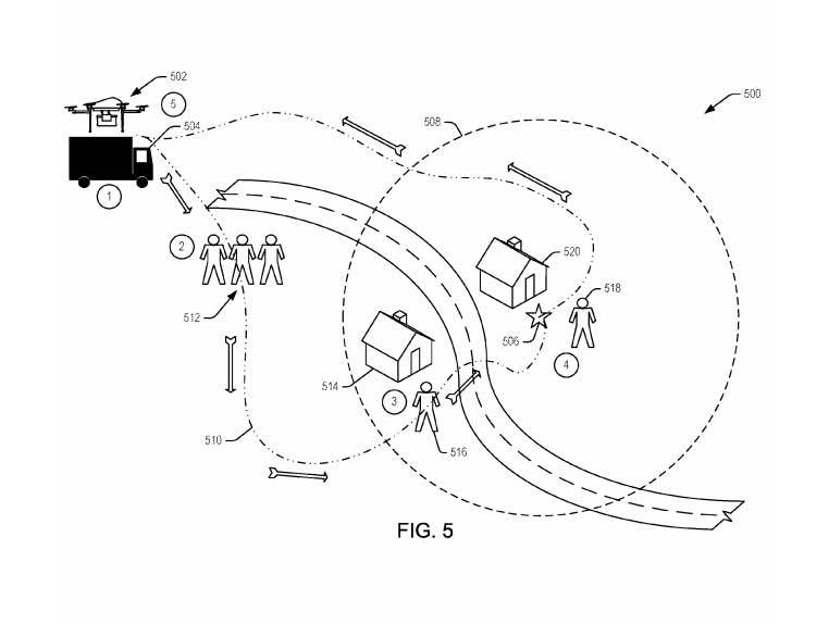
Conform experţilor, dronele pot urma consumatorii acasă, plecând de pe un vehicul de livrare, aşa cum arată desenul de mai jos (nu ar fi mai simplu să care pur şi simplu pachetul fără ajutorul vreunei drone sau asta ar presupune prea mult efort pentru omul modern mult prea comod?).

Credit: USPTO
Inovaţia ridică mai multe întrebări. Dacă livrarea se va face când nu eşti acasă? Dacă altcineva, mai în glumă, mai în serios, începe să fluture mâinile alături de tine?
Vă recomandăm să citiţi şi următoarele articole:
Acum poţi citi şi face baie în acelaşi timp datorită noului produs marca Amazon: primul e-book rezistent la apă
Avertisment major legat de creşterea necontrolată a companiilor mari. ”Ne îndreptăm spre un viitor distopic unde câteva companii ne vor controla viaţa”
Companiile care cumpără lumea. Cum ne vor controla fiecare aspect al vieţii Amazon, Apple, Google sau Facebook
Coşmarul IoT? O companie i-a dezactivat unui client uşa de la garaj după ce a criticat produsul pe Amazon